共 0 篇文章
食品/餅干進口報關清關的過程中需要注意的事項有哪些?餅干進口報關清關必須要注意這些,避免產生不必要的費用。預包裝食品進口報關清關餅干預包裝食品進口清關,餅干是普通預包裝食品,需要注意以下事項:1.預報
2026-04-12
二手設備進口報關代理進口公司多年來的積累和沉淀,針對“新舊機械設備,休閑零食,酒類飲料,保健食品,化妝品,化工品”等貨物深耕細作,擁有豐富的報關、審價、商檢、處理單證等經驗。從貨物進口的每一個環節出發
2026-04-12
日本舊注塑機進口報關手續詳解,舊設備進口報關代理公司-臻力供應鏈管理(上海)有限公司。日本舊注塑機進口報關流程:客戶提供需要進口設備相關資料----核算各種進口費用-----簽定進口代理協議----國
2026-04-12
進口餅干報關稅率是多少?需要多長時間才能進口到國內來,餅干進口報關需要哪些費用?這些問題是客戶比較關心的,今天臻力供應鏈小編就給大家講解一下餅干進口報關相關的知識!進口餅干報關稅率與時長進口餅干報關時
2026-04-12
了解一下,冷凍雞翅進口報關流程是這樣的;冷凍雞翅進口報關流程|進口冷凍雞翅尖報關代理|雞翅中進口代理報關行|冷凍雞翅根進口清關公司。臻力供應鏈是一家為企業提供專業的“全球進口一條龍服務”的物流供應鏈服
2026-04-12
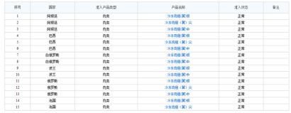
國外的龍蝦報關有哪些流程?海鮮進口報關清關流程及注意事項!專業進口,水產品、凍肉、凍海鮮、凍雞爪、凍牛肉、凍雞肉等進口報關。海鮮進口不同于一般商品,由于產品本身特殊性對時效要求比較高,且國家質檢總局監
2026-04-12
什么樣的代理進口報關公司才是好的?這個是很多進口商都想問的問題,特別是首次進口的朋友。進口商找代理進口報關公司提供服務,專業程度非常重要。很多代理進口報關公司都聲稱自己專業,兩個字說著容易,但是怎么體
2026-04-12
今年1月份阿根廷漁業部副部長提交了包括2018年阿根廷漁業捕撈和出口的數據報告。報告指出西班牙和中國兩個國家現在是阿根廷水產品出口的主要市場,與其他市場有很大差異。阿根廷漁業產品無可爭議的市場是西班牙
2026-04-12

注明:本網站圖片來源于網絡,如有侵權請聯系我們刪除。